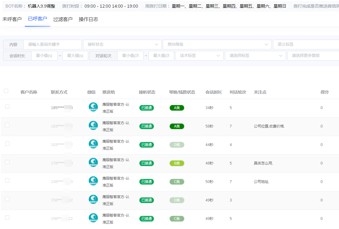
嘉单科技自动打电话的机器人完成对客户的初步筛选之后,会将意向客户划分为A/B/C/D类的等级客户,同时会将意向客户推送到你的微信上,在微信上我们可以看到机器人与客户的通话情况,完整版通话录音以及文字版记录,我们人工再根据客户的具体情况详细跟进客户。
电话营销机器人的效果非常好,优势如下:

1、人工一天只能打200-300通电话,而机器人每天的通话量在3000+以上,可以说是人工的5-10倍,效率。
2、低成本,机器人无需培训,不会离职,没有福利,可以说是减少了企业不少成本。
3、电话语音机器人软件采用的真人录音师,录制语音,上传后台,客户对话和真人对话一样,通顺流畅,富有感染力。
4、电话语音机器人会根据通话内容自动的分类成A、B、C类客户,自动标记未接通的电话,过一段时间会再呼叫一次。并且可以记录整个通话内容,通过文字和语音的模式记录在后台

5、在对话的过程中,如果客户打断了对话,机器人将立即停止对话,并重新进行语音识别。然后继续与客户交流沟通,使客户感觉像是在与真人对话。
